

Trójgniazdowy.
Moduł bezpiecznikowy BZ-3 przeznaczony jest do zabezpieczenia odbiorników elektrycznych przed skutkami wzrostu natężenia prądu ponad dopuszczalną wartość.
Działanie
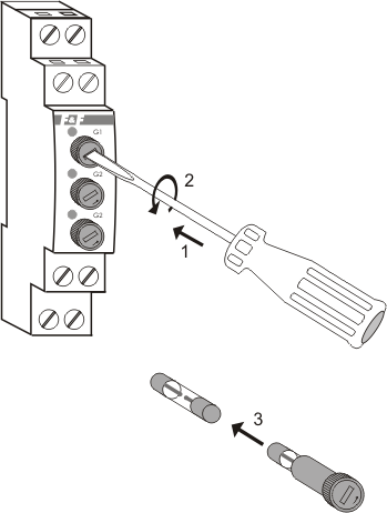
Zadziałanie bezpiecznika (przepalenie wkładki topikowej) sygnalizowane jest przez świecenie czerwonej diody LED.
Brak lub uszkodzenie bezpiecznika nie zapewnia fizycznego rozłączenia obwodu!
Przez obwód bezpiecznika nadal może przepływać prąd diody sygnalizacyjnej (maksymalnie 3 mA), co w przypadku zabezpieczania odbiorników małej mocy (<10 W) powodować może obecność napięcia na zaciskach wyjściowych bezpiecznika oraz załączenie kontrolek sygnalizacyjnych podłączonych do wyjścia bezpiecznika.
Uwaga!
W ofercie handlowej F&F znajdują się wkładki topikowe szybkie (S) i zwłoczne (T) o wartościach z zakresu 0,1 A÷6,3 A.